Abcellera: revolucionando el descubrimiento de anticuerpos.
Esta es la Parte 1 de 3 del análisis completo de Abcellera Biologics.
En esta primera entrega cubrimos la historia, la ciencia de los anticuerpos y la tecnología propietaria de Abcellera.
Introducción
Este análisis cubre la primera parte del estudio de la compañía canadiense Abcellera Biologics (NASDAQ:ABCL). Se trata de una empresa tratando de demostrar que su modelo de negocio es válido mientras el dinero se escapa de sus manos.
Desde su salida a bolsa, en pleno COVID-19 e hinchada por el éxito de sus primeros fármacos, la acción ha perdido un 95% de su valor bursátil en 5 años y ahora mismo capitaliza apenas 1.000 millones de dólares:

A pesar del aspecto del gráfico, decidí hacerme las siguientes preguntas:
- ¿Por qué pasó esto?
- ¿Qué vende Abcellera?
- ¿Tendrá éxito en su misión?
- ¿Es buen momento para invertir en ella?
El resultado, el siguiente análisis.
A lo largo de los párrafos, destriparemos el producto y el modelo de negocio, los pilares de crecimiento y lo que tiene que ofrecer Abcellera a un mercado de las terapias biológicas cada vez más competitivo.
Comenzamos.
¿Qué era Abcellera Biologics?
Abcellera Biologics nació en 2012 en la University of British Columbia (UBC), en Canadá. La empresa surgió como un spin-out liderado por los investigadores Carl Hansen, Véronique Lecault, Kevin Heyries, Daniel Da Costa y Oleh Petriv — dos de los cuales aún siguen dirigiendo el negocio.
En sus inicios, Abcellera Biologics era una organización de investigación por contrato (CRO, contract research organization). Habían desarrollado una tecnología para desarrollar terapias basadas en anticuerpos personalizados: las farmas les contactaban para desarrollar un anticuerpo, y ellos entregaban un diseño de anticuerpo optimizado a cambio de dinero.
Sobre la “magia” de Abcellera hablamos más tarde.
La estructura de pagos tenía tres niveles:
- Pagos por el trabajo inmediato para cubrir el coste de desarrollo del anticuerpo.
- Pagos por hitos clínicos: si el anticuerpo pasa a fase 1 de ensayos clínicos, reciben dinero. Si pasa a fase 2, más dinero, y así sucesivamente.
- Regalías por ventas: si el medicamento se comercializa, Abcellera recibe un pequeño porcentaje de cada venta (típicamente en el rango del 4%).
La ventaja de este modelo de negocio es que Abcellera era una simple CRO. No tenían que correr el riesgo de realizar ensayos clínicos que tienen una tasa de fallo elevada y requieren una gran inversión de capital. Ellos se dedicaban a generar un buen anticuerpo y a partir de ahí, le pasaban el testigo a la farma correspondiente.
Es decir, una vez plantado el árbol, solo tenían que sentarse a esperar que diera frutos — un modelo de negocio similar al de Bioventix.
Hasta el momento, este modelo les ha llevado a generar más de 100 anticuerpos en colaboración con grandes farmas (Lilly, Gilead, Regeneron, Pfizer, AbbVie, …), 18 de los cuales han acabado en la clínica y dos de ellos aprobados y comercializados.
Fuente: Abcellera.
El problema es que este modelo tenía una visibilidad casi nula. Los pagos por desarrollar los anticuerpos son pequeños y volátiles, los pagos por hitos son impredecibles dado que la mayoría de terapias fallan en clínica, y las regalías pueden tardar fácilmente 7-10 años en materializarse. La mayor parte del valor de tu producto no se materializa (si eso) hasta después de una década.

Se trataba de un negocio con bajo riesgo, pero también con capacidad limitada de generar beneficios, donde el producto se basaba en volumen de anticuerpos desarrollados (¿realmente hay tantas terapias que justifiquen que la mejor opción es un anticuerpo?) y se comportaba casi como una mercancía que compite por velocidad de desarrollo y precio.
Eso hizo que Abcellera comenzara una lenta transición desde una CRO hacia una biotecnológica con todas las letras. Pero antes de entrar en eso, veamos qué son los anticuerpos y qué ofrece Abcellera.
Laboratorio de Inversión:
Si te interesa la ciencia y/o la inversión impresarial, Laboratorio de Inversión es su sitio. Únete gratis y disfruta de un enfoque basado en la evidencia y el rigor científico:
¿Qué son los anticuerpos? Una guía poco-técnica
No seas vago.
No te hace falta ser inmunólogo para entender los 4 conceptos que vamos a ver, pero sí tienes que saber esto sobre los anticuerpos si quieres invertir en la industria billonaria de la que forman parte.
Ellos te salvan la vida a diario. Lo mínimo que puedes hacer es mostrarles un poco de gratitud entendiendo lo que son.
Un anticuerpo o inmunoglobulina es una proteína del sistema inmune con forma de Y que se une a sustancias extrañas como bacterias para neutralizarlas y ayudar a eliminarlas del organismo. A estas sustancias que el sistema inmune considera como extrañas las denominamos antígenos.
Estructura tridimensional de un anticuerpo. Fuente
Los anticuerpos los generan y secretan al medio los linfocitos B, una clase de glóbulos blancos cuya función es exclusivamente la de generar un anticuerpo concreto frente a un antígeno.
Estructura de un anticuerpo
Existen muchos tipos distintos de anticuerpos, pero el más común y el que nos interesa es el tipo de Inmunoglobulina G (IgG). De hecho, anticuerpo e IgG son términos que muchas veces se usan de manera indistinta.
La estructura general de los anticuerpos comprende dos regiones:
- Una región estándar idéntica entre anticuerpos, que suele servir para anclarse a las células del sistema inmune y avisarlas de que han encontrado un patógeno. A esta región le llamamos Fc y tiene sentido que sea idéntica entre anticuerpos porque queremos ponerle fácil a la célula del sistema inmune que pueda reconocerlo y unirse a él.
- Dos regiones hipervariables, una en cada extremo de la Y, que son únicas para cada anticuerpo y son las encargadas de reconocer los antígenos del medio. Este fragmento se conoce como región Fab.

Las regiones hipervariables de los anticuerpos son una maravilla de la ingeniería celular.
En serio.
Estas regiones hipervariables se forman a partir de unos fragmentos ubicados en el ADN de cada linfocito B que sufren recombinaciones aleatorias a lo largo de su desarrollo. Por el modo en el que están codificadas estas regiones en el genoma y los distintos procesos de reorganización por los que atraviesan, podemos generar un límite teórico de anticuerpos DISTINTOS.
A los humanos no se nos dan bien los números grandes; nuestro cerebro no los procesa. Si lo pensáramos en segundos, sería dos veces la edad actual del universo.
¿Qué nos aporta esta hipervariabilidad para generar tantos anticuerpos distintos?
La capacidad de detectar infinidad de antígenos (elementos extraños). Piensa en cada antígeno como una pieza de puzzle con muchos recovecos. Si quieres encajar con esa pieza de puzzle, necesitas otra pieza que sea complementaria.
El problema es que, a priori, el cuerpo no sabe qué pieza será la que encaje con el antígeno, así que genera millones de anticuerpos distintos para que, por prueba y error, alguno consiga conectar. Una vez se une el anticuerpo que encaje, servirá como señal de que se ha detectado la amenaza y el sistema inmune podrá eliminarla de manera acorde.

Funcionamiento de los anticuerpos
La función principal de los anticuerpos es reconocer cosas extrañas. Para ello, genera millones de anticuerpos diferentes.
¿Cómo conseguimos generar miles de anticuerpos diferentes? Con millones de linfocitos B que generan un anticuerpo concreto. Y este es un concepto importante: un linfocito B solo puede producir un anticuerpo específico. El anticuerpo que produce, lo hace en cantidades ingentes, pero solo puede producir un tipo de anticuerpo que reconozca un antígeno específico. Por tanto, para generar el arsenal de anticuerpos tan diversos, nuestro cuerpo dispone de millones de linfocitos B distintos.
Pensemos que un antígeno puede ser bastante complejo. Si el antígeno es una bacteria, tenemos muchas partes de la bacteria donde un anticuerpo podría unirse. El antígeno (la bacteria) es el mismo, pero no todos los anticuerpos se van a unir a la misma región de la bacteria.
De esta manera, a los anticuerpos que reconocen distintas regiones de un antígeno los llamamos anticuerpos policlonales. Policlonales, porque provienen de distintos “clones” de linfocitos B que generaron sus respectivos anticuerpos.
En contraposición tenemos los anticuerpos monoclonales, que derivan de un único linfocito B y se unen específicamente a una región del antígeno.
Esto es lo mejor que la IA ha conseguido hacer con mis nulas habilidades para escribir buenos prompts de generación de imágenes. La idea era ilustrar que los anticuerpos policlonales se unen a diferentes regiones del antígeno, pero los monoclonales solo a una región específicamente.
¿Es importante la diferencia entre policlonal y monoclonal? Sí, y mucho.
Cada anticuerpo se va a unir a una región del antígeno con una afinidad y especificidad concretas:
- Especificidad: la capacidad del anticuerpo para reconocer ese antígeno específico sin confundirlo con otros. Los test de embarazo usan anticuerpos que reconocen una hormona que solo se produce durante el embarazo. Los anticuerpos del test deben reconocer esa hormona sin reaccionar con moléculas parecidas para evitar falsos positivos.
- Afinidad: la fuerza con la que ese anticuerpo se une al antígeno. Un anticuerpo ideal debe poseer máxima afinidad para reconocer el antígeno incluso en concentraciones muy bajas. En un test de embarazo, es necesario un anticuerpo muy afín que permita detectar la hormona incluso cuando el embarazo es incipiente.
El hecho es que un linfocito B no puede “forzar” generar anticuerpos muy específicos y afines. Cuando aparece un antígeno, millones de linfocitos B generan anticuerpos de forma aleatoria. De toda esa mezcla de anticuerpos policlonales, habrá alguno que sea perfecto para reconocer ese antígeno y neutralizar la amenaza, y los demás tendrán una afinidad intermedia o nula. Lo bueno es que gracias a los avances tecnológicos, ahora contamos con estrategias para identificar ese anticuerpo perfecto y aislar al linfocito B que lo generó, de forma que podamos producir anticuerpos monoclonales, que provienen de un único clon de linfocito B, para identificar ese antígeno.
Los anticuerpos monoclonales vs policlonales tienen sus respectivas ventajas e inconvenientes según su uso. Para la clínica, que es el tema que nos importa más como inversores, se prefieren los anticuerpos monoclonales. ¿Por qué?
- Porque nos aseguramos de que todos los anticuerpos que generemos reconocerán exactamente la misma región del antígeno, lo que aporta homogeneidad y fiabilidad en el proceso.
- Porque es mucho más fácil en términos tecnológicos y económicos emplear anticuerpos monoclonales para generarlos a escala industrial.
Veamos ahora cómo se generan los anticuerpos monoclonales de manera tradicional.
Generación de anticuerpos monoclonales
El proceso tradicional de generación de anticuerpos monoclonales consistía en los siguientes pasos:
-
Inyectar una solución que contiene el antígeno de interés a un animal (habitualmente roedores). Por ejemplo, si quieres desarrollar un test de embarazo, lo ideal sería inyectar la hormona específica de las mujeres embarazadas en animales. Si quieres un anticuerpo que reconozca una célula tumoral, inyectas una proteína específica que exprese esa célula tumoral en su membrana.
-
El sistema inmune del animal, que nunca ha visto antes ese antígeno en sangre, lo clasifica inmediatamente como una amenaza y monta una respuesta inmune para neutralizarla antes de que “pueda hacer daño”. El antígeno no es dañino en sí, pero eso el sistema inmune del animal no lo sabe.
-
Se espera unos días a que se haya generado todo ese arsenal de linfocitos B con anticuerpos frente al antígeno y se extraen los tejidos del animal que contienen los linfocitos B, como la médula ósea, el bazo o los ganglios linfáticos.
-
Se fusionan con unas células cancerosas para conseguir inmortalizarlas. Este paso es clave: un linfocito B no tiene capacidad por sí solo de expandirse y perdurar eternamente, por lo que al cabo del tiempo perderíamos la fuente de ese anticuerpo tan ideal. Por ello, se fusionan con estas células cancerosas que les permiten sobrevivir indefinidamente, multiplicarse y secretar anticuerpos en grandes cantidades.
-
Por último, se identifica cuál de los linfocitos B inmortalizados genera el mejor anticuerpo. Este se guarda y utiliza para producir indefinidamente, a gran escala, los anticuerpos necesarios para la clínica. Esta es la parte más laboriosa del proceso, pues implica reducir los posibles anticuerpos distintos a uno o dos candidatos que seguirán el desarrollo clínico.

Usando este método tradicional, podemos llegar a generar anticuerpos monoclonales en un periodo medio de 6-9 meses, teniendo en cuenta todo el proceso de selección del mejor anticuerpo.
Existen otras tecnologías clásicas como el phage display, pero la forma más habitual de generar anticuerpos monoclonales es mediante la inmunización de animales y la generación de hibridomas.
Vamos con los usos.
Usos clínicos de los anticuerpos monoclonales
Existen muchos usos posibles de los anticuerpos, tanto en investigación como en clínica: detección de proteínas, neutralización, activación o inhibición de procesos celulares, … Pero en este caso nos interesa su uso clínico como terapias.
Los anticuerpos monoclonales se clasifican como terapias biológicas (como los análogos de GLP-1), en contraste con los fármacos basados en moléculas pequeñas (como el ibuprofeno).
En la clínica, los anticuerpos funcionan como herramientas de precisión biológica: se usan para identificar moléculas, bloquearlas o dirigir terapias hacia células específicas. Su utilidad radica en que aprovechan un mecanismo natural para aplicaciones terapéuticas.
Ventajas:
- Especificidad extrema para unirse solo a su antígeno. Elimina muchísimos efectos secundarios de los fármacos habituales por afectar a otras proteínas no deseadas.
- Larga vida media, lo que facilita que el paciente pueda ser tratado cada X semanas o incluso meses → mejor adherencia al tratamiento.
- Reclutan a nuestro propio sistema inmune para eliminar el problema en vez de recurrir a la toxicidad del propio fármaco.
- Alta diferenciación. Como todos los biológicos, los anticuerpos son más difíciles de fabricar, lo que dificulta (aunque no imposibilite) la aparición de genéricos o biosimilares → más MOAT.
Inconvenientes:
- No acceden al interior celular, limitándose a proteínas de superficie o moléculas circulantes, lo que reduce sus aplicaciones posibles.
- Su tamaño dificulta la penetración en tejidos sólidos como algunos tumores.
- Requieren inyección (vía intravenosa o subcutánea) y no pueden administrarse oralmente.
- Son más costosos de manufacturar: requieren células vivas y biorreactores en lugar de síntesis química.
- A pesar de tasas de éxito superiores a moléculas pequeñas, presentan tasa de fallo clínico de hasta 90%.
El elemento diferenciador de los anticuerpos es su capacidad de reconocer una molécula específica y modificar sus propiedades. Pongo algunos ejemplos:
- Oncología: algunos anticuerpos están diseñados para reconocer células tumorales e instruir al sistema inmune a eliminarlas. Otros pueden bloquear proteínas de las células tumorales que les servían para evadir al sistema inmune, y algunos incluso se fabrican conjugados con quimioterapia para que el anticuerpo lleve el fármaco específicamente hacia la célula tumoral, como si de un misil guiado se tratase.
- Enfermedades crónicas y autoinmunes: existen anticuerpos que reconocen y neutralizan señales de inflamación, o inhiben receptores que inician procesos patológicos.
- Enfermedades infecciosas: algunos anticuerpos se unen a virus e inhiben su capacidad de entrar en las células. Veremos un ejemplo específico de esto desarrollado por Abcellera en la pandemia de COVID-19.
Básicamente, puedes usar un anticuerpo monoclonal para cualquier enfermedad en la que quieras reconocer una molécula y ejercer un efecto sobre ella; ya sea activarla, inhibirla, o facilitar que otras células puedan reconocerla.
Ahora que hemos visto la utilidad de los anticuerpos, pasemos a ver qué está haciendo Abcellera para revolucionar el mercado y su uso clínico.
La tecnología de Abcellera: anticuerpos como churros
La labor de Abcellera no es solo descubrir anticuerpos excelentes para su uso clínico; es acelerar su desarrollo varios órdenes de magnitud. El flujo de trabajo para conseguir un anticuerpo monoclonal es el mismo:
- Elegir la diana farmacológica.
- Inmunizar animales con un antígeno de interés.
- Aislar sus linfocitos B productores de anticuerpos.
- Averiguar qué anticuerpo es el mejor para llevarlo a la clínica.
- Producir el anticuerpo a gran escala.
Lo interesante está en las mejoras tecnológicas que ha introducido Abcellera para hacer mucho más eficiente el proceso. ¿Cuánto de eficiente? Antes he mencionado que generar y seleccionar un anticuerpo monoclonal mediante los métodos clásicos llevaba entre 6 y 9 meses.
Bien, pues Abcellera lo puede conseguir en 1 mes.
Y esta diferencia de tiempo es lo que podría diferenciarlos de la competencia. Primero vamos a ver paso a paso cómo funciona la tecnología de Abcellera y por qué es única. Posteriormente, explicaré un ejemplo de uso real para entender mejor cómo esta parte tan teórica se traslada a la clínica.
Selección de la diana farmacológica
El proceso de obtención de un anticuerpo monoclonal empieza por identificar la diana farmacológica que queremos modular.
Es decir, para poder curar o prevenir una enfermedad primero tenemos que saber cuál es el mecanismo que la desencadena e identificar qué parte del proceso es susceptible de ser modulado.
Esto no es algo trivial, ya que dentro de una enfermedad puede haber muchos puntos posibles donde actuar, y la elección de la diana puede tener consecuencias sobre el éxito o fracaso del proyecto.
Pongamos el ejemplo de la COVID-19: es un proceso que pasa por la exposición al virus SARS-CoV-2, que el virus penetre en las células, libere sus proteínas, secuestre la maquinaria celular para ponerla a hacer copias de él mismo, las encapsule y las libere al medio para generar nuevas partículas virales infectivas.
*Ejemplo del ciclo de replicación del SARS-CoV-2. Fuente *
En todos y cada uno de esos puntos puedes “atacar” al virus: puedes bloquear la entrada del virus en la célula, evitar que secuestre la maquinaria celular, que libere nuevas partículas virales o incluso inducir la muerte de toda célula infectada.
La inmunización de animales
Abcellera recurre a animales para generar sus anticuerpos. La lógica detrás de esta elección es que el sistema inmune de un animal vivo es la herramienta evolutiva definitiva.
Cuando inyectas un antígeno a un animal, ocurre una primera fase de reacción donde los linfocitos B existentes producen anticuerpos para neutralizar la amenaza. Pero la cosa no queda ahí. Tras esta primera línea de defensa, los linfocitos B sufren procesos de expansón y reorganización de sus anticuerpos para tratar de mejorar su capacidad de unión al antígeno. En esta segunda fase de reacción, procesos que se conocen como hipermutaciones somáticas y de maduración de la afinidad, lo que hacen es introducir cambios aleatorios en las secuencias de ADN que codifican los anticuerpos que ya reconocen el antígeno. Tras la reorganización, los linfocitos B vuelven a ser expuestos al antígeno y podrán ocurrir dos cosas: si el anticuerpo resultante tiene menos afinidad, el linfocito B morirá. Pero si la unión se vuelve más fuerte, el linfocito B sobrevivirá e incluso podrá volver a pasar por otra fase de refinamiento de la afinidad.
De esta manera, Abcellera puede conseguir anticuerpos con una afinidad excelente invirtiendo una fracción de recursos. Sin embargo, esto también entraña una serie de problemas como la tolerancia o la dificultad de algunas moléculas para ser buenos antígenos.
La tolerancia
La tolerancia
Volvamos a la definición de antígeno: cualquier sustancia que el sistema inmune reconoce como extraña. Pero, ¿qué implica exactamente extraño?
Nuestro sistema inmune no sabe a priori qué es extraño y qué forma parte de nuestro cuerpo; recordemos que los anticuerpos se generan por recombinaciones aleatorias del ADN. Un anticuerpo bien podría reconocer como extrañas tanto una bacteria como una célula propia.
El caso es que durante su maduración, los linfocitos son “enseñados” a no reconocer los antígenos que constituyen nuestro cuerpo. Esto es un eufemismo, pues la realidad es que todo linfocito que se produzca pasa por una fase en la que sus anticuerpos se ponen a prueba.
Durante su maduración, al linfocito se le expone a antígenos de nuestro propio cuerpo. Si el anticuerpo del linfocito no reconoce con gran afinidad a los antígenos propios, pasa el filtro y puede seguir vivo. Sin embargo, si el anticuerpo reconoce con alta afinidad ese antígeno propio, se activan señales que eliminan al linfocito.
Este fenómeno, conocido como tolerancia, asegura que nuestros linfocitos no ataquen a nuestras propias células. Simplemente toleran nuestra existencia porque aquellos que no la toleraban han sido debidamente eliminados.
La tolerancia es esencial para que nuestro sistema inmune no nos ataque, pero también dificulta generar anticuerpos eficaces:
- El cáncer se produce por una proliferación descontrolada de nuestras propias células; células que suelen expresar las mismas proteínas que células sanas. Esto quiere decir que son antígenos propios, así que resulta casi imposible diferenciarlas.
- Si inmunizas a un ratón con una proteína humana, teniendo en cuenta que son parecidas al 95 % a las del propio ratón, es posible que no consigas buenos anticuerpos que se unan a ese antígeno propio.
¿Cómo soluciona Abcellera este problema?
- Mediante el uso de ratones humanizados, como los ratones Trianni que adquirieron en 2020 por 90 M$.
- A través de alianzas con empresas como Alloy Therapeutics, que crían otras especies como llamas o pollos. Estos animales están más alejados evolutivamente de nosotros que los ratones y facilita que sus sistemas inmunes generen buenos anticuerpos contra proteínas humanas.
- Inyectando no el antígeno directamente sino el ADN que genera el antígeno. Esto es una estrategia muy inteligente que hace que las células del propio organismo sinteticen el antígeno y lo expongan en su membrana a partir del ADN, lo que “simula” una infección viral y ayuda a inmunizar frente a antígenos complejos.
Ratones Trianni
No me quiero detener mucho, pero sí explicar por qué creo que la adquisición de estos ratones fue una buena decisión de la dirección de Abcellera.
Los ratones Trianni son una serie de líneas de ratones transgénicos modificados para que produzcan anticuerpos humanos con alta afinidad. Sin entrar en detalles técnicos, son ratones a los que se les ha sustituido sus regiones del ADN responsables de generar anticuerpos por las regiones presentes en humanos. Esto implica que los anticuerpos que se producen son “humanizados”, es decir, que sus secuencias son muy parecidas a las de los humanos.

¿Por qué sería esto importante? Porque Abcellera necesita que sus anticuerpos sean lo más parecidos posibles a los de los humanos. Si los anticuerpos fueran muy diferentes en sus regiones estructurales (la región Fc), al inyectarlos en nuestro cuerpo los detectaría como extraños y montaría una respuesta inmune FRENTE al anticuerpo, en vez de usar el anticuerpo monoclonal para atacar la enfermedad para la que se generó. A esto se le conoce como anticuerpos anti-fármacos, y el resultado sería que nuestro anticuerpo perdería eficacia porque el sistema inmune lo eliminaría.
Este proceso podría hacerse también por ordenador. Es decir, inmunizas un ratón normal → extraes las secuencias de sus mejores anticuerpos → modificas las regiones no esenciales para el reconocimiento del antígeno y las “humanizas” → sintetizas el anticuerpo.
El problema de este método es que el procesamiento informático puede fallar y se basa en simulaciones que luego tendrías que validar en la vida real. Con el ratón sabes que sus anticuerpos funcionan y son estables porque ni siquiera serían viables y no los detectarías al extraer los linfocitos del ratón.
¿Y por qué comprarlos en vez de, por ejemplo, llegar a acuerdos con la empresa que los fabricó? Probablemente para no depender de esos socios dueños del ratón si después quieren llegar a acuerdos con otros socios para usarlos. Me parece una simple forma de reducir la complejidad legal y asegurar que los ratones son 100 % de su propiedad.
Aislamiento y selección de anticuerpos
Una vez hemos inmunizado a los animales, toca extraer y analizar todos los linfocitos B del ratón. En esta fase es donde la tecnología de Abcellera supone una revolución.
La tecnología consta de varios pasos:
- Evaluar funcionalmente los anticuerpos de cada linfocito B
- Extraer las secuencias que codifican esos anticuerpos
- Elegir un candidato entre millones de opciones posibles
Vamos por pasos.
La microfluídica
Abcellera emplea una tecnología de selección de linfocitos B basada en la microfluídica. Esta técnica emana del fundador Hansen, ya que fue él quien la desarrolló y patentó durante su trabajo en la British Columbia University.
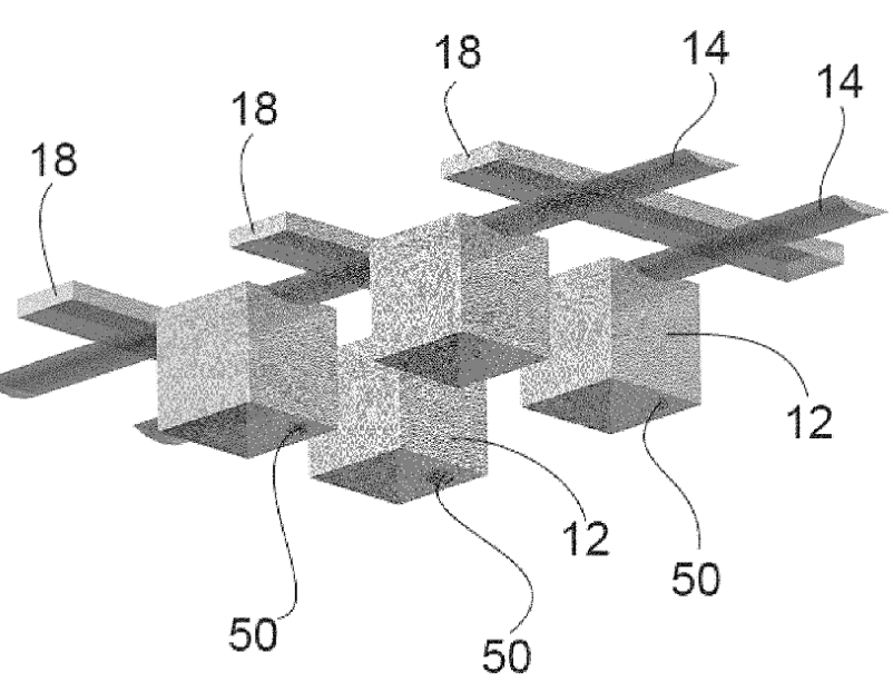
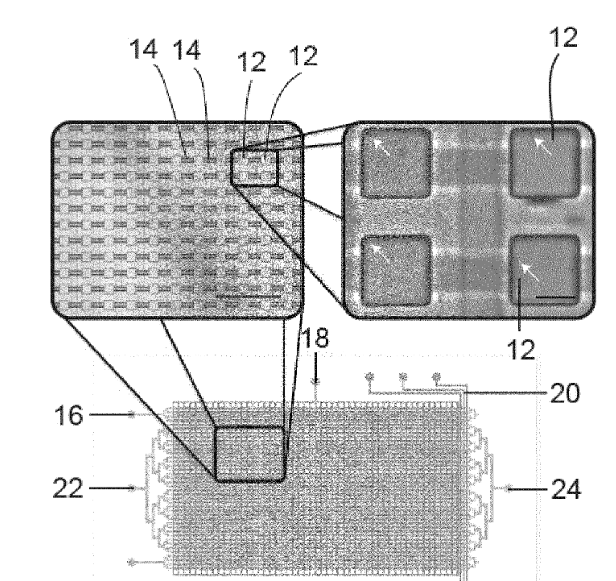
La microfluídica es una forma de mover las células empleando corrientes de líquido a través de un chip repleto de miles de cámaras nanométricas donde apenas caben unos pocos nanolitros. Las siguientes imágenes provienen de la patente US10087408B2 que recoge esta tecnología. En la primera imagen se puede observar la forma de una de estas cámaras diseñadas para albergar unas pocas células (círculo rojo).

A su vez, estas cámaras están posicionadas en una malla tridimensional conectadas entre sí, de modo que el chip entero puede contener miles de ellas.


¿Y dónde está la utilidad? En que en cada cámara puedes analizar un linfocito B de manera individual, miles de ellos simultáneamente.
Tras la extracción de los linfocitos B del animal inmunizado, la solución que contiene las células se pasa por este chip, de modo que los canales van distribuyendo las células hasta que sólo hay un linfocito B en cada cámara. Una vez en la cámara, los linfocitos B comienzan a hacer lo que saben: producir anticuerpos. Aquí la drástica miniaturización del volumen supone una importante ventaja, ya que es mucho más fácil que el volumen de la cámara se llene rápidamente de anticuerpos producidos por el linfocito B. Las placas tradicionales son de 96 o 384 pocillos — estas tienen miles de ellos en el mismo espacio total que ocupa una de estas placas.
El límite de los chips
Los chips que emplea Abcellera tienen miles de cámaras individuales; pero eso puede no ser suficiente. Un animal inmunizado puede contener fácilmente 10 millones de linfocitos B diferentes que deben ser analizados.
Para solventar este problema, Abcellera recurre a varias soluciones:
- Usar varios chips para analizar toda la población.
- Enriquecer la muestra en linfocitos B maduros antes de pasarlo por los chips. Para lectores más técnicos, esto implica pasos como separar los linfocitos IgG+ de los IgM+.
- Secuenciar el resto de los linfocitos B que no quepan en los chips. Más sobre esto a continuación.
Pero lo mejor no es la capacidad de contener tantas células en un espacio reducido; es poder realizar estudios funcionales con ellas. Los canales por donde fluyeron inicialmente las células pueden ser empleados para llevarles reactivos que permitan saber cómo de bien o mal se comportan los anticuerpos de cada uno de esos linfocitos B.

Este paso supone una mejora tecnológica enorme. En vez de tener que analizar cada clon poco a poco, podemos analizar la capacidad de unión de miles de anticuerpos de manera simultánea, acelerando muchísimo el proceso de descubrimiento de candidatos válidos para pasar a los ensayos preclínicos.
Más información sobre la microfluídica
Es difícil imaginarse cómo funciona realmente esta tecnología sin verla en funcionamiento en la vida real. Por ello, dejo aquí una serie de enlaces a recursos de la tecnología OptoSelect de Bruker, muy parecida a la de Abcellera:
- Beacon Select™ Optofluidic System - Bruker Cellular Analysis
- The Beacon® Optofluidic System - Bruker Cellular Analysis
De hecho, Bruker y Abcellera tuvieron una batalla legal por las patentes de la plataforma de microfluídica para analizar células vivas, pero parece que Abcellera acabó ganando.
Una vez se han encontrado aquellas células que secretan los mejores anticuerpos para el antígeno concreto, se procede a recuperar su material genético para averiguar exactamente qué recombinaciones han tenido lugar en su ADN para generar ese anticuerpo tan específico. Las células se extraen, se lisan y se secuencian las regiones de material genético que codifican los anticuerpos. Dado que las células se seleccionaron de manera individual, los datos secuenciados nos permiten saber exactamente qué cadenas se recombinaron con cuáles para no perder la tan valiosa información de qué anticuerpo funcionó tan bien. Pensemos que un linfocito B puede durar apenas unos días fuera del cuerpo; secuenciando su genoma podemos conservar su información genética de por vida en el disco duro de nuestro ordenador.
Secuenciación masiva
Por muy bien que funcione la microfluídica, al final solo puedes analizar unos cuantos miles de linfocitos B por chip. El problema resultante es que podrías haber recuperado solo una célula que produzca un buen anticuerpo, algo muy arriesgado en un entorno clínico. Quedarte solo con los pocos anticuerpos que puedas analizar en el chip es como ver sólo la punta del iceberg; jugártelo todo a una carta.
Para solucionarlo, en Abcellera secuencian en paralelo todos aquellos linfocitos B que no pudieron analizar en el chip. El razonamiento es el siguiente: muchos linfocitos B son clones de una misma familia que se generaron durante ese proceso de maduración de la afinidad que ya comentamos. Es decir, que son linfocitos B muy parecidos entre sí, con la variación de quizás apenas un par de nucleótidos en las secuencias que codifican sus anticuerpos. Es muy probable que si encontramos un linfocito B que produce el anticuerpo “candidato” en el chip, en el resto de la muestra original se encuentren clones de ese linfocito B con ligeras variaciones en sus anticuerpos.
¿Por qué no secuenciar directamente todos los anticuerpos y pasar del chip? Porque el chip es el paso de validación funcional. Si secuenciáramos todos los anticuerpos, no sabríamos cuál funciona mejor. Podríamos hacer simulaciones informáticas, pero no tendríamos una evidencia directa de una célula viva de que su anticuerpo se une al antígeno con alta afinidad.
Así pues, Abcellera carga los linfocitos en el chip, valida funcionalmente sus anticuerpos y usa los mejores que haya encontrado como una semilla sobre la que superponer los datos de los demás linfocitos secuenciados. De esta manera, se pueden reconstruir árboles genealógicos derivados de ese anticuerpo candidato, y en vez de tener un único anticuerpo, tener una familia de anticuerpos con propiedades muy similares. El anticuerpo analizado en el chip es quien nos da la pista de que hay un buen candidato, pero disponer de sus parientes relativos nos permite realizar estudios posteriores para ver si alguno de ellos podría ser incluso mejor.
El ejemplo más sencillo de esto sería el siguiente: encuentras en tu chip un anticuerpo que se une a tu proteína diana con una afinidad de la leche; pero el anticuerpo es poco estable y tiende a “pegarse” a otros anticuerpos, lo que forma agregados insolubles que imposibilitan su uso clínico. Pero como hemos secuenciado a otros 20 anticuerpos con características similares, podemos buscar de entre esa familia aquel que mantenga una capacidad excelente de unirse al antígeno y que además tenga buena solubilidad.
El papel de la IA y la automatización
Antes de continuar, quiero usar esta sección como testimonio de que Abcellera no está incluyendo el uso de inteligencia artificial porque sea el nuevo “hot-topic”.
Lo contado en el ejemplo anterior parece sencillo, pero filtrar, catalogar y analizar millones de secuencias de anticuerpos para encontrar el más óptimo requiere una capacidad computacional brutal.
Para agilizar y automatizar todo este trabajo, Abcellera ha desarrollado su plataforma propietaria Celium, un software que lee todos los datos obtenidos durante la generación de los anticuerpos y los integra. Tras la secuenciación de los anticuerpos, Celium emplea algoritmos informáticos para agrupar las secuencias de los anticuerpos e identificar las familias de linfocitos que provienen de un mismo clon. Después, las contrasta con los datos funcionales obtenidos en los chips de microfluídica y presenta la información de modo que se puedan tomar decisiones más informadas.
No te hablo de que Celium relacione secuencia del anticuerpo con afinidad por el antígeno. Me refiero a que Celium relaciona secuencia del anticuerpo con afinidad por el antígeno, estabilidad del anticuerpo, viscosidad, agregación, solubilidad, y todos los parámetros que hayan querido analizarse. Y a eso le añade los datos previos obtenidos de cientos de experimentos anteriores para anticuerpos distintos.
Maia Smith, encargada de la visualización de datos en Abcellera, lo asemeja con Netflix:
Just as Netflix will show you movies similar to movies you liked before, Celium will show you antibodies with similar properties to the antibodies you’re already interested in.
Ejemplo: tras analizar tus anticuerpos, podrías tomar la decisión sencilla de quedarte con los 10 anticuerpos que mejor se unan a tu proteína de interés. Pero, ¿y si esos 10 anticuerpos son variaciones mínimas de un mismo clon? Podrías estar sesgando tus datos. Celium evita estos fallos ayudando a identificar los mejores candidatos de CADA familia de clones, de modo que puedas elegir varios candidatos con propiedades diversas y reducir la probabilidad de que todos tus candidatos fallen en los estudios preclínicos.
Además, una segunda derivada y una fuente de MOAT en expansión es la inmensa cantidad de datos que genera Abcellera al realizar sus pruebas. Tanto los éxitos como los fracasos de Abcellera aportan información sobre lo que SÍ funciona y lo que NO. Problemas como la agregación de los anticuerpos, la alta viscosidad que pueden generar en solución, o directamente una baja solubilidad son ejemplos reales de por qué los anticuerpos fallan al llevarlos a la clínica.
Cada ronda de experimentos de Abcellera ayuda a entrenar a sus algoritmos a elegir mejor para la próxima vez. Este es el foco principal de Abcellera: usar la IA no para diseñar anticuerpos desde cero, sino para encontrar los que mejor funcionen dentro del repertorio de opciones ya generadas. A diferencia de otros competidores que no pueden entrenar sobre lo que no existe (los fallos, la evidencia real), Abcellera construye una barrera de entrada que se agranda con cada experimento realizado.
En esencia, lo de Abcellera es un caso de uso real de la inteligencia artificial no para hacer el trabajo por ti, sino para ayudarte a tomar mejores decisiones. De hecho, la dirección de Abcellera ha sido muy crítica con el uso de la aproximación puramente generativa. Hansen alude a que para conseguir buenas secuencias de anticuerpos de novo necesitas datos base de altísima calidad, algo de lo que no disponen la mayoría de modelos. Modelos como AlphaFold han ayudado a resolver la estructura de proteínas, pero se basan en datos positivos sobre lo que sí funciona, no lo que no funciona. Además, una cosa es predecir la estructura proteica (que ya es un hito en sí mismo), pero predecir la capacidad de unión de un anticuerpo a partir de únicamente una secuencia es algo que todavía queda por resolver.
Hasta aquí llegan las principales mejoras que Abcellera aporta al proceso de descubrimiento de anticuerpos. El resto del proceso es bastante estándar y sencillo de entender.
Expresión de los anticuerpos candidatos
Una vez se ha elegido el o los candidatos para continuar su desarrollo, toca sintetizarlos para seguir probando su eficacia. Recordemos que lo único que hemos guardado son las secuencias de ADN, las plantillas de los anticuerpos secuenciados.
El siguiente paso es bastante sencillo e implica insertar las secuencias de los anticuerpos en líneas celulares — habitualmente HEK o CHO — adaptadas para sintetizar copias del anticuerpo en grandes cantidades. Este proceso tiene lugar en enormes biorreactores que permiten producir litros de anticuerpos y purificarlos para su uso posterior:
Esquema de un biorreactor.
Validación funcional de los anticuerpos
Esta validación se diferencia de la que vimos anteriormente para identificar buenos anticuerpos en los chips. Lo que se hacía en los chips era una validación funcional preliminar para identificar posibles candidatos.
Pero eso no es suficiente para llevar un anticuerpo a la clínica. Una vez sintetizado el anticuerpo, tienes que convencer a la autoridad regulatoria competente (FDA, EMA, etc) de que te deje inyectar el anticuerpo en un humano. Y eso no es tarea fácil.
Me centraré en la regulación estadounidense, pero es similar en otras jurisdicciones.
La solicitud para que te dejen llevar el anticuerpo a ensayos clínicos se denomina “IND” (Investigational New Drug). Los estudios para convencer a la FDA de que te aprueben la solicitud se denominan “IND-enabling studies”.
Básicamente, la FDA quiere pruebas de que tu anticuerpo funciona y minimizar las posibilidades de que se vaya a cargar al primer ser humano al que se lo administres. ¿Cómo conseguimos eso? Mediante estudios en modelos animales preclínicos, como roedores o primates, que incluyan:
- Estudios de farmacocinética y farmacodinámica: cómo se administra tu fármaco, cómo se absorbe en el cuerpo, cómo se une a su diana, y cómo se excreta.
- Estudios de seguridad y toxicidad: cuánta es la dosis segura de tu fármaco y cuáles son los efectos secundarios.
Además, la FDA exige pruebas de que puedes fabricar el anticuerpo de manera consistente y estable. Eso implica:
- Estudios de caracterización: estructura, pureza, potencia.
- Evaluar impurezas derivadas del proceso de fabricación.
- Análisis de estabilidad del anticuerpo durante periodos prolongados.
- Buenas prácticas de laboratorio: un estándar de calidad que asegura de que hayas sintetizado el anticuerpo de manera segura.
En resumen, antes de llevarlo a la clínica, tienes que comprobar que tu fármaco es mínimamente seguro, que tienes un mecanismo de acción validado y que puedes sintetizarlo de manera consistente. Con tantas trabas, no es de extrañar que la industria sanitaria se haya fragmentado e hiperespecializado en nichos.
Una vez completadas todas estas fases, acabas con un maravilloso anticuerpo que tiene un 90 % de probabilidades de fallar en la clínica.
En resumen, generar un anticuerpo monoclonal implica un largo proceso de inmunización de animales, selección de anticuerpos y validación funcional. La ventaja es que lo que antes llevaba meses, Abcellera puede hacerlo en días:

El showcase que demostró el potencial de Abcellera
Enhorabuena si has llegado hasta aquí sin dejar de leer.
Después de tanta teoría, vamos a ver la tecnología de Abcellera en funcionamiento con un caso de la vida real:
La generación del primer anticuerpo para la COVID-19.
Fuentes consultadas
La siguiente explicación es una adaptación del artículo científico donde se publicaron los resultados. Podéis consultar el artículo y un vídeo resumen del propio CEO aquí:
Artículo científico: The neutralizing antibody, LY-CoV555, protects against SARS-CoV-2 infection in nonhuman primates Vídeo: Abcellera Leverages AWS to Accelerate Drug Development
El flujo de trabajo
1. Diseño
El SARS-CoV-2 inicia su infección a través de la espícula viral, también conocida como “spike protein”. Esta proteína se une a la enzima convertidora de angiotensina 2 (ACE2), una proteína expresada en las células del epitelio pulmonar. ACE2 actúa como receptor de la espícula viral, y permite la entrada del virus al interior celular para iniciar su ciclo de infección.
Por tanto, si previenes que la espícula viral se una a ACE2, inhibes la infección. Es decir, diseñemos un anticuerpo que se una a la espícula viral y bloquee su unión a ACE2.
2. Obtención y procesamiento de muestra
Cae en manos de Abcellera la sangre de un paciente que había superado una infección por COVID-19 hacía 20 días. Su sangre contiene anticuerpos neutralizantes del virus, porque su sistema inmune ya ha luchado contra la infección.
Aislamos sus linfocitos B y los pasamos al chip de microfluídica para comenzar a caracterizar sus anticuerpos. En total, se analizan 5.8 millones de células. Los estudios funcionales consisten en dos tests que emiten una señal fluorescente cuando los anticuerpos generados por un linfocito se unen a espículas virales añadidas al medio.
Izquierda: esquema de los tests funciones realizados en cada una de las nanocámaras del chip. Derecha: imágenes reales que muestran la emisión de fluorescencia en celdas donde hay anticuerpos que reconocen el virus.
3. Aislamiento y secuenciación
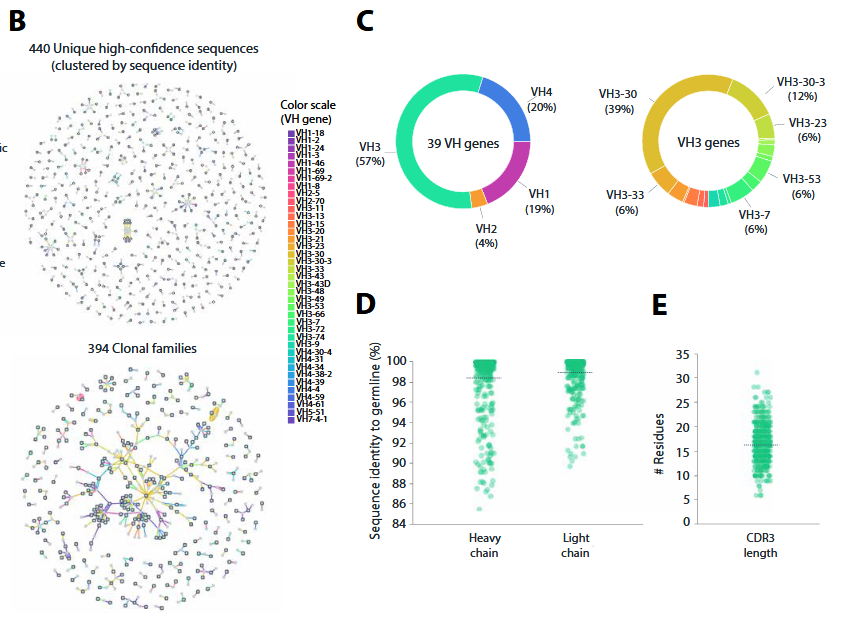
De los ~6 millones de células analizadas, se encuentra que 4.500 secretan anticuerpos que se unen a la espícula viral. De estas, se recuperan 2.238 para secuenciar sus anticuerpos.
Se encuentran 440 anticuerpos con alta fidelidad pertenecientes a 394 familias de clones distintos. Se emplea Celium para seleccionar 187 anticuerpos candidatos, basándose en propiedades como diversidad de secuencias, solubilidad, etc. La idea fue seleccionar todos los anticuerpos que fueran lo más diversos entre sí pero que todos tuvieran capacidad de unirse a la espícula del virus.
De estos, se logró clonar 175 anticuerpos en vectores de expresión que pudieran ser insertados en cultivos celulares para generar IgGs funcionales a gran escala.
Resultado de la secuenciación de las cadenas de los anticuerpos, maximizando la diversidad de secuencias.
4. Validación funcional
Estos anticuerpos se expresan por separado en células y comienza la caracterización funcional: capacidad de inhibición de la espícula viral, solubilidad, agregación, etc.
Un paso importante en este proceso es identificar a los anticuerpos que se unen a la parte de la espícula que interacciona específicamente con el receptor ACE2. La idea es sencilla: que el anticuerpo ejerza un impedimento estérico entre ambas proteínas. En cristiano: que se ponga en medio para estorbar e impida que se unan espícula-ACE2.
Congruentemente, se encuentra que los mejores anticuerpos para neutralizar el virus son aquellos que se unen a la región por la que la espícula viral interacciona con ACE2:
Panel B: arbol de las regiones de la espícula viral donde se une cada anticuerpo. C: demostración de que los anticuerpos que bloquean la interacción de la espícula con ACE2 son los que inhiben de forma más potente el virus.
De estos, se seleccionan los 24 mejores anticuerpos, continúan las pruebas, y nos quedamos con uno en concreto, el** clon Ab169** (Ab es de “Antibody”, anticuerpo en inglés), que adquiere el nombre de LY-CoV555.
El clon LY-CoV555 fue seleccionado porque demostró una gran capacidad de inhibición del virus a unas concentraciones reducidas y con muy buenas propiedades fisicoquímicas para producirlo a gran escala y administrarlo en sangre. La siguiente es una imagen del anticuerpo unido a la espícula viral y a ACE2. Nótese cómo LY-CoV555 se une a la espícula viral y “tapona” la región que se uniría a ACE2:
espícula viral en amarillo, ACE2 en gris, anticuerpo LY-CoV555 en cian y región por la que compiten el anticuerpo y ACE2 en magenta.
Pasamos a estudios en seres vivos complejos: primates no humanos. Se emplean dos modelos: macacos de reshus (Macaca mulata) y macacos cangrejeros (Macaca fascicularis), dos especies que tienen una fisiología parecida a la de los humanos.
En los estudios realizados, LY-CoV555 previno de manera eficaz la replicación viral en el tracto respiratorio de los macacos, lo que significa que está deteniendo o al menos ralentizando la infección. El efecto es dosis-dependiente: a más concentración, más capacidad de inhibición.
BALF es el fluido extraído de los pulmones de los macacos para analizar la presencia de virus. Se aprecia como la cantidad de virus presente es mínima e incluso disminuye con los días a medida que el anticuerpo va neutralizando el virus.
Y listo. Ya tenemos los estudios IND-enabling completados y el fármaco puede pasar a ensayos clínicos.
¿Sabéis cuánto tardó Abcellera en realizar todo este proceso?
3 meses.
3 meses desde recoger la sangre del paciente a pasar a ensayos clínicos cuando este proceso en cualquier otra circunstancia habría tardado años. Además, el fármaco terminó los ensayos clínicos con resultados positivos y recibió aprobación comercial bajo el nombre de Bamlanivimab. De hecho, pese a haber empezado meses más tarde que los competidores, el anticuerpo de Abcellera fue el primero en recibir aprobación comercial en noviembre de 2020.
Este ejemplo es una demostración clara del poder de la tecnología y el flujo de trabajo de Abcellera. Ahora imaginemos lo que podría suponer esto llevado a gran escala: miles de anticuerpos entrando en ensayos clínicos en los próximos años (claro que para eso se tendrían que cumplir muchas premisas).
Ahora un pequeño jarro de agua fría.
Los peros
Este showcase era el mejor escenario posible en el que podría haberse movido Abcellera. Pero no podemos olvidar las circunstancias y el desenlace final:
Primero, la pandemia de COVID-19 supuso un impacto global tan grande que se aceleraron muchos procesos regulatorios que en otras circunstancias habrían llevado mucho más tiempo. No digo que se hiciera la vista gorda, sino que todos los esfuerzos estaban puestos en encontrar métodos de frenar la expansión del virus.
Segundo, el anticuerpo se desarrolló de forma conjunta con Eli Lilly, que aportó su músculo financiero, su cadena de distribución global y su know-how. Es difícil pensar que hubieran llegado tan rápido a desarrollarlo sin la ayuda de ese gigante.
Tercero, pese a haber recibido aprobación en noviembre de 2020, se retiró del mercado en abril del 2021. ¿Por problemas de seguridad? Negativo. Por problemas de eficacia. No porque el anticuerpo no reconociera lo que estaba diseñado para reconocer, sino porque el virus se había adaptado al anticuerpo. Es decir, había mutado su espícula para que no fuera reconocida de manera tan eficaz por el anticuerpo y pudiera realizar su infección.
Esto demostró que, a pesar de que el desarrollo y el proceso habían sido impecables, este tipo de terapias no eran útiles para patógenos (o cánceres) que tengan una alta tasa de mutación y se vuelvan inmunes al anticuerpo. No tiene sentido estar años desarrollando una terapia que va a quedar obsoleta en cuestión de meses.
Sin embargo, esto no es necesariamente negativo para Abcellera. Lo único que podemos sacar de aquí es que hay que fijarse bien en las enfermedades para las que se quiere desarrollar el anticuerpo. De hecho, si acaso este ejemplo juega a favor de Abcellera porque, cuando surgieron estos problemas, Abcellera buscó en sus bases de datos y desarrolló otro anticuerpo en tiempo record (aunque le pasó lo mismo que al primero).
Continuará en Parte 2: Del Laboratorio al Mercado
Ahora que conoces la ciencia detrás de los anticuerpos y la plataforma tecnológica de Abcellera, en la siguiente entrega veremos cómo la empresa pivotó de ser una simple CRO a convertirse en una biotecnológica integrada con pipeline propia. Analizaremos sus productos colaborativos y los 3 programas pre-colaborativos en desarrollo clínico.
